操作步驟: 總部后臺→設置→收款賬號:增加“開通合利寶”和“合利寶交易”兩個子欄目。供應商后臺→系統設置:增加“開通合利寶”和“合利寶交易”兩個子欄目。
①商家申請開通合利寶,填寫申請后提交為待審核狀態;

②申請開戶通過審核之后,進行下一步操作“上傳資質”,上傳資質后,等待審核;

③上傳資質審核通過后,商家在申請開通頁面會看到”審核通過:報備成功”,此時開通合利寶分賬功能開關才可使用分賬功能;

④商家開通合利寶分賬后,供應商也可以申請開通合利寶分賬,開通的操作步驟同上(先提交申請開戶資料,等待審核,審核通過后,再提交商戶資質,再等待審核,通過后供應商就成功開通合利寶功能了);


⑤商家和對應的供應商都成功開通合利寶功能后,才可以使用分賬功能;
⑥如果有供應商沒開通合利寶,那么還是走之前的結算模式;
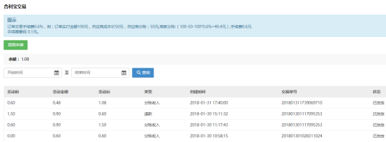
⑦目前只支持支付寶支付和微信支付分賬,開通合利寶后,支付寶支付分賬功能自動開啟,微信支付分賬功能需要商家像合利寶申請開通(具體可聯系我們客服開通),支付成功后,商家可以在總部后臺→設置→收款賬號→合利寶交易,查看交易記錄,且支持提現(供應商后臺查看和提現同上);

⑧開通合利寶后,支付寶支付時可以使用余額寶,花唄,銀行卡,信用卡等支付方式。付款成功后可以在商家后臺進行付款查詢;


⑨使用分賬功能時,訂單交易手續費為0.6%,有商家承擔,且最低訂單交易手續費為0.1元。訂單付款后,進行分賬,達到對應的合利寶賬號; 案例1:訂單實付金額1.08元,供應商成本價0.5元,供應商分賬:0.5元,商家分賬:(1.08-0.5-0.1=0.48元),手續費0.1元。因為1.08*0.6%<0.1元,所以取最低訂單交易手續費0.1元。


(商家后臺查看合利寶交易)

(對應供應商后臺查看合利寶交易)
案例2:訂單實付金額100元,供應商成本價50元,供應商分賬:50元,商家分賬:(100-50-100*0.6%=49.4元),手續費0.6元。
⑩分賬訂單退款不支持部分商品退款,退款成功后,錢原路退回;


?提現:開通合利寶后,商家和供應商從合利寶賬戶提現時,不需要任何手續費,提現無額度限制,提現是直接提到自己的開戶賬號(申請合利寶開戶時填寫的開戶賬號);

?結算模式是T+1模式(交易日加1天)。
浙江省軟件協會 | 雙軟認定企業 | 軟件企業編號:浙RQ-2016-0157 | 增值業務電信許可證:浙B2-20110469
杭州市余杭區利爾達產業園1幢7樓
? 2008-2025 版權所有 杭州啟博科技有限公司

電話咨詢
免費試用
預約演示
獲取方案

2022 春耕計劃 好禮相送免費體驗 火爆全網的小程序
社群團購 + 新零售方案 + 跨境電商分銷 + 視頻號分銷方案 + 私有化企業定制方案,更多專業方案免費獲取……
電話咨詢:139-0650-1422



聯系電話:139-0650-1422